S. Nicola dei Prefetti is a small church with a rectangular plan. The oldest mention of S. Nicola dei Prefetti is found in a papal bull of Lucius III (1181-1185). This bull refers to a dispute between the nuns of S. Maria in Campo Marzio and the clerics of several neighbouring churches, including S. Nicola dei Prefetti. It seems that the church was given the nickname 'dei Prefetti' because of its proximity to the palace of the Di Vico family, who were ancient Roman prefects. A surviving inscription on the lintel of the door cites the intervention in 1250 of the stone mason Stefano Oderisii who created the floor, altar and ciborium (not preserved) on commission from the archpriest Andrea. In 1567, the Dominicans of S. Sabina were entrusted with the pastoral care of S. Nicola, and the parish was transferred to S. Lorenzo in Lucina. Later, in 1575, former parishioners of S. Nicola obtained the reopening of their parish, although it remained under the jurisdiction of S. Sabina. In the 17th and 18th centuries, major restoration works were carried out on the church, including the rebuilding of the façade in 1674 and the restoration of the roof in 1725. It is believed that the bell tower was also demolished during these restorations. Finally, in 1824, the parish was suppressed again and in 1844, the Confraternity of the Holy Crucifix Agonising took possession of it from the Dominican Order.

Abb. 480-NicoladeiPrefetti_001.tifDownload
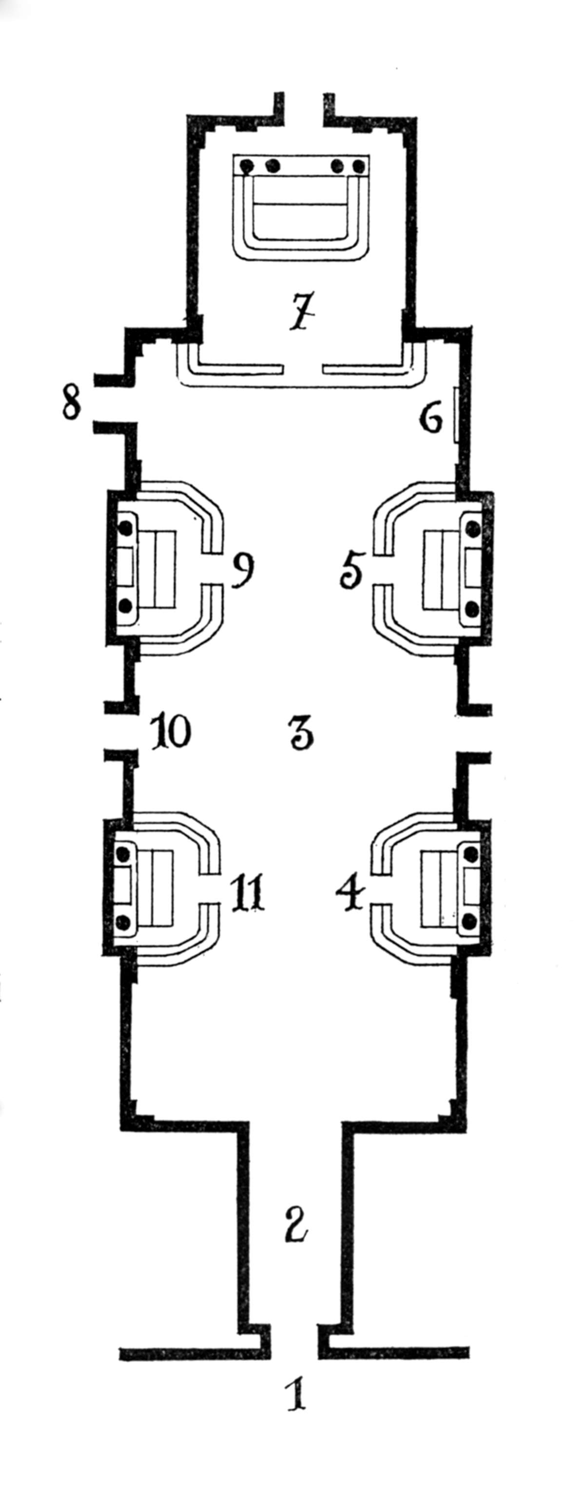
Rom, S. Nicola dei Prefetti, Grundriss (Drago 1960, hinteres Faltblatt)
BY-NC-SA 4.0
Abb. 482-NicoladeiPrefetti_002.jpgDownload
Rom, S. Nicola dei Prefetti, Romplan, Detail, L. Bufalini, 1551 (Frutaz, Piante 1962)
BY-NC-SA 4.0
Abb. 483-NicoladeiPrefetti_003.jpgDownload
Rom, S. Nicola dei Prefetti, Romplan, Detail, G. Maggi, 1625 (Frutaz, PIante 1962)
BY-NC-SA 4.0
Abb. 485-NicoladeiPrefetti_005.jpgDownload
Rom, S. Nicola dei Prefetti, Romplan, Detail, A. Tempesta, 1593 (Frutaz, Piante 1962)
BY-NC-SA 4.0
Number in map
79
Church name
S. Nicola dei Prefetti
Existing
Coordinates
41.90256, 12.47667
Address
Via dei Prefetti 36
Rione
Campo Marzio (IV)
Nolli's map #
447
Chronology
12th century, second half 13th century
Keywords
single-nave hall, Pope Lucius III, Dominicans of S. Sabina, demolished bell tower, portal inscription, ciborium, floor, altar, Stephanus Oderisii
Research status
Completed
Published in

Corpus Cosmatorum II, volume 4

2D